Audi 100 turboquattro

описание ваших трудов и стараний.
отчеты по эксплуатации, отчеты о тюнинге.
Аватара пользователя
dimo61
Местный
Сообщения: 9491
Зарегистрирован: Ср янв 24, 2007 3:00 am
Откуда: Unfortunately here

Сообщение dimo61 »

для начала эсочнику почти наизусть надо знать

http://s2-audi.co.uk/workshop/aan/aan.pdf

прочитать книгу хрулёва "ремонт моторов"

http://spbmotor.ru/category/07-stati/

и чинить мотор в соответствии с принципами работ из этой книги


это если хочешь чтобы мотор "ходил".... :D
Рафис
Местный
Сообщения: 162
Зарегистрирован: Вт янв 06, 2015 9:31 pm
Откуда: Нижнекамск

Сообщение Рафис »

Чуваки привет всем. dimo61 спасибо за сылки очень помогли при сборке мотора. Собрал низ на очереди гбц очень рад что сдвинулось наконецто сместо ))) радоваться конечно рано пока не завели мотор, когда заведем буим куралесить но при сборке всетаки были мысле что не смог поставить новую поршневую ремонтным размером с хоном. Ладно чуваки приятно кто читает кто следит.)))
Рафис
Местный
Сообщения: 162
Зарегистрирован: Вт янв 06, 2015 9:31 pm
Откуда: Нижнекамск

Сообщение Рафис »

Ребят выручайте штудировал интернет толкого нечего не нашел какого цвета на ауди 100 жидкость гура???
Аватара пользователя
costya048
Местный
Сообщения: 2494
Зарегистрирован: Ср июн 12, 2013 7:51 am
Откуда: липецкая обл.Елец

Сообщение costya048 »

У тебя пробка какого цвета на гуре)))) такого и жижа))
Аватара пользователя
NikOrtin
Местный
Сообщения: 4443
Зарегистрирован: Пн авг 06, 2012 9:42 pm
Откуда: Вологда

Сообщение NikOrtin »

Рафис писал(а):Ребят выручайте штудировал интернет толкого нечего не нашел какого цвета на ауди 100 жидкость гура???
кто что льет...в оригинале зеленая, до этого в оригинале красная, у меня красная
Рафис
Местный
Сообщения: 162
Зарегистрирован: Вт янв 06, 2015 9:31 pm
Откуда: Нижнекамск

Сообщение Рафис »

Да у меня зеленая у товарищя красная залита у меня феби но всеровно звук есть хочу оригинал g 004 000 m2
Аватара пользователя
costya048
Местный
Сообщения: 2494
Зарегистрирован: Ср июн 12, 2013 7:51 am
Откуда: липецкая обл.Елец

Сообщение costya048 »

Не поможет,хоть трижды ориджинал залей,тупо переплатишь
Рафис
Местный
Сообщения: 162
Зарегистрирован: Вт янв 06, 2015 9:31 pm
Откуда: Нижнекамск

Сообщение Рафис »

Когда тачка холодная она легко и не воет, когда тачка стоит тарабанит на холостых трудом руль крутиться и воет я хз в чем беда думаю жидкость греется и теряет свойства
Аватара пользователя
BlindHorse
Местный
Сообщения: 15745
Зарегистрирован: Ср мар 07, 2007 7:33 am
Откуда: Анжеро-Судженск
Контактная информация:

Сообщение BlindHorse »

Оригинал гавно, лей атф дексрон 2
Юр, откуда у тебя руки растут всем давно известно и факт :bs: (с) Patriot
Рафис
Местный
Сообщения: 162
Зарегистрирован: Вт янв 06, 2015 9:31 pm
Откуда: Нижнекамск

Сообщение Рафис »

ага а фирма какая??
Аватара пользователя
BlindHorse
Местный
Сообщения: 15745
Зарегистрирован: Ср мар 07, 2007 7:33 am
Откуда: Анжеро-Судженск
Контактная информация:

Сообщение BlindHorse »

Любая.
Юр, откуда у тебя руки растут всем давно известно и факт :bs: (с) Patriot
Аватара пользователя
Dimka V8
Местный
Сообщения: 5491
Зарегистрирован: Вт май 15, 2012 1:22 pm
Откуда: Воронеж

Сообщение Dimka V8 »

Рафис писал(а):ага а фирма какая??
допустим Mobil 220 ATF DEXTRON II ,норм
Не хочешь слушать - ебись сам или слушай "умников" других(С)BlindHorse
Господи, неужели эта машина еще ездит??? (С)dimka13
Но самое главное эска на не аутентичной турбе превращается в детский конструктор и автоматически теряет цену.(C)Cкиталец
Рафис
Местный
Сообщения: 162
Зарегистрирован: Вт янв 06, 2015 9:31 pm
Откуда: Нижнекамск

Сообщение Рафис »

Все спасиб поменяю
Аватара пользователя
dimo61
Местный
Сообщения: 9491
Зарегистрирован: Ср янв 24, 2007 3:00 am
Откуда: Unfortunately here

Сообщение dimo61 »

Рафис писал(а):Когда тачка холодная она легко и не воет, когда тачка стоит тарабанит на холостых трудом руль крутиться и воет я хз в чем беда думаю жидкость греется и теряет свойства
жидкость ни при чём...это у насоса износ в "овале" в насосной части ...
ставь "хорошую" заднюю часть от насоса от А8Д2 ...она толще на 3мм.. руль будет легче крутиться
Рафис
Местный
Сообщения: 162
Зарегистрирован: Вт янв 06, 2015 9:31 pm
Откуда: Нижнекамск

Сообщение Рафис »

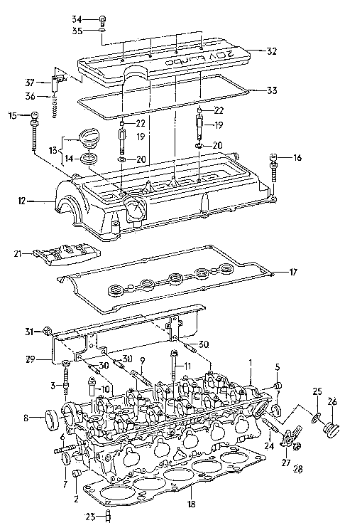
Ребят привет короче есть одна пласмастка масло отражатель называется вот он у меня рассыпался высых он стоит на распредвале когда горлошко клапоный крышки открываешь заливаешь масло там видно э то пласмастка стоит вот искать ее или забить и без нее собрать??
Вложение AU_Bilder_119_119103540.gif больше недоступно
под номером 21
Вложения
AU_Bilder_119_119103540.gif
Аватара пользователя
DRIFTING
Местный
Сообщения: 3567
Зарегистрирован: Пн фев 13, 2012 8:40 am
Откуда: Voronezh

Сообщение DRIFTING »

Рафис писал(а):Ребят привет короче есть одна пласмастка масло отражатель называется вот он у меня рассыпался высых он стоит на распредвале когда горлошко клапоный крышки открываешь заливаешь масло там видно э то пласмастка стоит вот искать ее или забить и без нее собрать??[ATTACH=CONFIG]42224[/ATTACH] под номером 21
Без нее собирай, или только новую заказывай.
"Восстанавливаю S4,,,
"VLUA"
"Z" РАБОТАЕТ АРМИЯ РОССИИ
FRUITCAT
Местный
Сообщения: 4608
Зарегистрирован: Вс фев 09, 2014 12:50 am
Откуда: Москва ЮАО

Сообщение FRUITCAT »

Без нее уже лет 8 езжу и все норм.
Аватара пользователя
dimo61
Местный
Сообщения: 9491
Зарегистрирован: Ср янв 24, 2007 3:00 am
Откуда: Unfortunately here

Сообщение dimo61 »

FRUITCAT писал(а):Без нее уже лет 8 езжу и все норм.
что хорошего что масло с распредвала по крышке струячит ? ... резинка быстрее из строя выйдет

так как пластмассовый щиток не поставляется давно,можно и лучше поставить "вечный" железный от V8

экзист..13 дн - значит из за границы ...может и снимут заказ,но надо пробовать
[TABLE="class: tbl, width: 1"]
[TR]
[TD="class: artMerge dotted"]077 103 478 B

Щиток
[/TD]
[TD="class: artMerge informicon, align: center"][/TD]
[TD="align: center"][/TD]
[TD="class: updtime, align: center"]27.11.15[/TD]
[TD="class: statis mobile_h, align: center"]13 дн.[/TD]
[TD="class: price, align: center"]600,80 р.[/TD]
[/TR]
[/TABLE]


у меня уже у многих эсочников стоит железная крышка
Рафис
Местный
Сообщения: 162
Зарегистрирован: Вт янв 06, 2015 9:31 pm
Откуда: Нижнекамск

Сообщение Рафис »

Хорошо посмотрю)))
FRUITCAT
Местный
Сообщения: 4608
Зарегистрирован: Вс фев 09, 2014 12:50 am
Откуда: Москва ЮАО

Сообщение FRUITCAT »

Хорошего нет, это точно, но на скорость в данном случае влияет мало)
Ответить